今週の資産推移は+1.8%(+77万)でした。同期間のマーケットはTOPIXが+0.6%、マザーズ指数が-1.9%とマーケットをアウトパフォームできました。
大型は底堅く、小型新興は弱いという先週と同じ流れでした。外国人投資家が買いに転じたのもあって、似たような相場が続きそうと思っています。
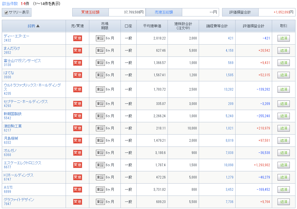
今日の取引
2432 DeNA (-)
信用で2000株買って持ち越し。
14:35にこのニュースが流れてきたのを見て買ってみました。月曜日の12時に公開。何が出てくるにせよそのへんで手仕舞いします。
6506 安川電機 (-163,357円)
デイトレ。昨日が本決算発表で、今期予測が強かったので買ってみたら値動きは弱かった。自分の裁量で短期トレードやらないほうがよいんですかね・・。
ポートフォリオ
サマリー
- 評価額合計 44,255,455円
- 前日比 +339,625円 (+0.77%)
- 月初比 -304,097円 (-0.68%)
- 年初比 +8,486,303円 (+23.73%)
現物

信用
